产品标题:HD-1.2,0101 KSS 絕緣配線槽,KSS配线器材,台湾KSS,KSS官网,KSS代理 产品ID:VIB20140807143546734 品 牌:KSS凯士士 所在地:中国 上海 价 格:面议 (大量采购价格面议) 库存状态:货期待查 更新日期:2025-10-12 21:27:40 咨询电话:(+86)021-51699285 咨询Q Q: 2695337323 |
質: | 採用UL合格之南亞PVC(灰色)製成,通過美規94V-0防火等級,歐規M1防火等級,耐燃性佳,絕緣性良好,不自燃,耐溫至85℃。 | |
構造: | 由槽底及槽蓋兩部份組成,槽底兩側設出線孔,以組合後外部之寬、高為規格標準,UL測試溫度50℃。 | |
特點: | 1. | 配線槽底座兩側出線孔互相對齊,任何處鋸斷或接成 L 型均可保持盤面美觀、整齊。 |
2. | 槽蓋經特殊設計,與配線槽底座組合後絕不脫落,且接合面平滑,不割傷手及擦損附近配線。 | |
3. | 出線孔低、組合容易、拆卸簡單,易於配線。 |
材質: | 採用UL合格之南亞PVC(灰色)製成,通過美規94V-0防火等級,歐規M1防火等級,耐燃性佳,絕緣性良好,不自燃,耐溫至85℃。 | |
構造: | 由槽底及槽蓋兩部份組成,槽底兩側設出線孔,以組合後外部之寬、高為規格標準,UL測試溫度50℃。 | |
特點: | 1. | 配線槽底座兩側出線孔互相對齊,任何處鋸斷或接成 L 型均可保持盤面美觀、整齊。 |
2. | 槽蓋經特殊設計,與配線槽底座組合後絕不脫落,且接合面平滑,不割傷手及擦損附近配線。 | |
3. | 出線孔低、組合容易、拆卸簡單,易於配線。 |
![]() MD-8mm出線孔 適用於動力盤,高壓盤之配線。 可配合18mm間距之端子盤使用。 |
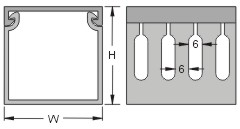
![]() KD-6mm出線孔 一般自動控制,機械用配電盤適用。 可配合12mm間距之端子盤使用。 |
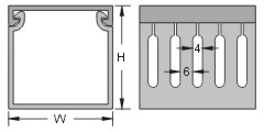
![]() HD-4mm出線孔 出線繁多及線路較細時適用。 可配合10mm間距之端子盤使用。 |